查看: 89|回复: 0

国家药监局发布最新用药“黑名单”!这些药,自贡人慎用!

[复制链接]

851

主题

0

回帖

490

积分

中级会员

积分
490
发表于 2025-12-8 08:50:35 | 显示全部楼层 |阅读模式
近日,国家药品监督管理局药品评价中心发布了《国家药品不良反应监测年度报告(2018年)》,对去年全年不良药品及事件进行了全面的总结和分析。


d1.webp
△图片来源:国家药监局官网


用药无小事

以下这些药,慎用!


感冒药
d2.webp
止咳化痰药
d3.webp
解热镇痛药
d4.webp
心脑血管药
d5.webp
肠胃道疾病用药
d6.webp
抗过敏药
d7.webp
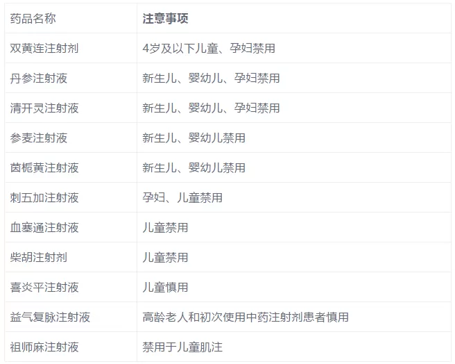
中药注射剂
d8.webp
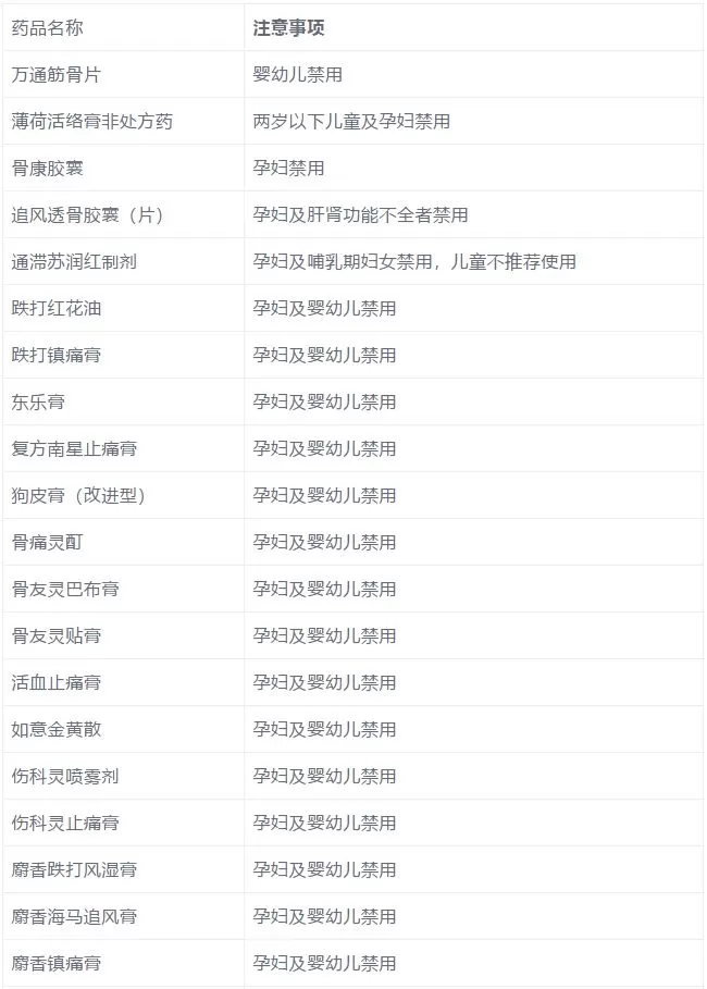
跌打损伤、骨科用药
d9.webp
d10.webp
其他
d11.webp
特别要注意的是

有些成人可以安全使用的药物

儿童却不适用

所以以下这些药物

一定要慎重使用!


儿童用药最容易犯的6个错误
d12.webp d13.webp d14.webp


最后,跟小编一起记好这十条,重视起家庭药箱的安全管理吧!


① 家庭药箱常整理,安全储药很重要

② 药名相近药效远,服药需要看分明

③ 儿童发烧需降温,合理使用退烧药

④ 多药共用需谨慎,提高用药依从性

⑤ 激素治疗应注意,合理使用是良药

⑥ 改善骨质疏松症,不能仅依靠补钙

⑦ 服华法林需监测,抗血栓要遵医嘱

⑧ 科学应对心绞痛,硝酸甘油要用对

⑨ 规律服用降压药,生活方式做辅助

⑩ 长期服药要复诊,根据病情来调整
免责声明:本文由网友发表或转载,不代表自贡论坛观点和立场,不对其真实合法性负责.如有异议或侵权,请与本网站联系删除!
回复

使用道具 举报

您需要登录后才可以回帖 登录 | 立即注册

本版积分规则

全站链接: 工程造价

QQ|手机版|小黑屋|自贡论坛 ( 蜀ICP备12031032号-2 )|网站地图川公网安备 51030002000002号

GMT+8, 2026-4-18 03:09 , Processed in 0.114758 second(s), 9 queries , Redis On.

Powered by Discuz! X3.5

© 2016-2021 Comsenz Inc.

快速回复 返回顶部 返回列表