查看: 80|回复: 0

省时省力还省钱!内江推出“预住院”服务

[复制链接]

875

主题

0

回帖

480

积分

中级会员

积分
480
发表于 2025-12-8 13:41:32 | 显示全部楼层 |阅读模式
记者11月4日从内江市第一人民医院获悉,为给患者提供更便捷、更高效、更满意的医疗服务,该院在内江率先推出“预住院”模式,目前已经在胸心外科铺开。
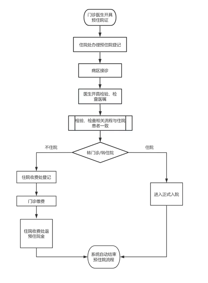
d1.webp 预住院是指对于一些诊断明确,病情相对稳定,符合住院指征的患者,在患者和(或)家属暂时没有时间,或者病区暂时没有床位的情况下,先进行入院常规检查检验后,再根据床位情况安排正式住院的模式。
相比传统的就医入院流程,“预住院”模式省时省力还省钱。符合“预住院”条件的患者,医护人员可协助患者在“预住院”期间,完成术前检查,入院后即可安排手术,有效缩短了患者术前等待时间。医院主动为患者提供缴费、采血、心电图、优化预约检查、术前预康复指导、预约床位等服务,并对特殊人群(如老年人等行动不便者)提供便捷服务。同时,在“预住院”期间,医院不收取床位费、护理费、诊查费等;与本次住院相关的检验检查费用将纳入住院费用中进行医保结算。在此期间,无需家属陪护,减少了交通费、饮食费、误工费等多项隐性住院成本。
内江市第一人民医院医生提醒,患者要预留正确的联系方式,并保持电话畅通,便于住院准备中心工作人员联系。办理“预住院”手续并完善相关院前检查后,院方会在3个工作日内安排患者正式住院,预住院的检验检查费用将纳入住院费用医保结算。如果由于电话不畅通,或者其他原因导致不能在3天之内办理正式住院,前期费用将按照门诊费用结算,剩余押金会原路返还。
免责声明:本文由网友发表或转载,不代表自贡论坛观点和立场,不对其真实合法性负责.如有异议或侵权,请与本网站联系删除!
回复

使用道具 举报

您需要登录后才可以回帖 登录 | 立即注册

本版积分规则

全站链接: 工程造价

QQ|手机版|小黑屋|自贡论坛 ( 蜀ICP备12031032号-2 )|网站地图川公网安备 51030002000002号

GMT+8, 2026-4-5 21:26 , Processed in 0.060875 second(s), 11 queries , Redis On.

Powered by Discuz! X3.5

© 2016-2021 Comsenz Inc.

快速回复 返回顶部 返回列表